Компанія Kawasaki працює над новим поколінням електричних мотоциклів. На це вказує серія нещодавно опублікованих патентів, у яких описано незвичне технічне рішення - модульну конструкцію силового агрегату, що може суттєво змінити підхід до розробки електробайків.
У більшості сучасних електричних мотоциклів силова установка інтегрована у конструкцію шасі досить жорстко. Двигун і батарея часто виконують роль структурних елементів рами, тобто сама рама фактично проєктується під конкретну конфігурацію мотора. Такий підхід добре впливає на жорсткість конструкції та динаміку, однак робить платформу менш гнучкою, якщо виробник хоче створювати кілька моделей із різними електродвигунами.

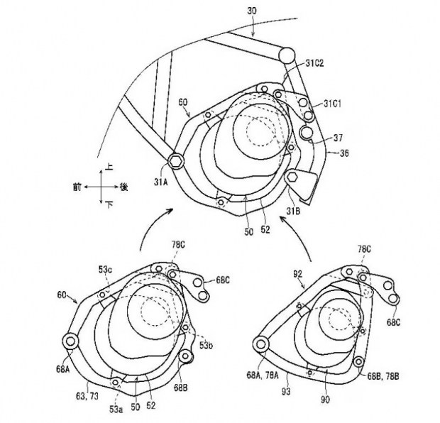
У патенті Kawasaki пропонується інше рішення - модульна система кріплення, що дозволяє встановлювати різні типи моторів у межах однієї базової рами мотоцикла.
Зовні концепція нагадує вже існуючі електричні моделі бренду Kawasaki Z e-1 та Ninja e-1, які мають сталеву трубчасту раму і знімні акумуляторні блоки, розміщені між її елементами. Електродвигун у такій схемі розташований поблизу осі маятника задньої підвіски. Однак нова патентна конструкція передбачає важливу відмінність: силовий агрегат кріпиться не безпосередньо до рами, а через спеціальний проміжний підрамник.
Цей підрамник фактично виступає інтерфейсом між основним шасі та блоком двигуна з трансмісією. Він складається з двох окремих секцій - верхньої та нижньої, які можна змінювати залежно від конфігурації силового агрегату.

На практиці це означає, що виробник може використовувати одну базову раму для кількох різних електромотоциклів, встановлюючи різні двигуни без серйозної переробки шасі. У самому патенті зазначено, що різні силові блоки можуть монтуватися «без внесення значних змін до основної рами», потребуючи лише невеликих змін у вузлах кріплення.
На перший погляд, ідея виглядає досить простою, але вона може мати важливі наслідки для розвитку електричних моделей Kawasaki. Модульна платформа дозволить спростити виробництво, збільшити уніфікацію деталей між різними мотоциклами та зменшити витрати на розробку.
Це особливо важливо для сегмента електромотоциклів, який поки що перебуває на ранньому етапі розвитку. Такі моделі часто коштують значно дорожче за бензинові аналоги, тому будь-які інженерні рішення, що дозволяють знизити виробничі витрати, потенційно можуть зробити електробайки доступнішими для покупців.
