Німецькі автовиробники давно мають репутацію брендів, які не соромляться змушувати власників автомобілів купувати спеціальні інструменти. Однак BMW, схоже, вирішила вивести цю практику на зовсім інший рівень. Компанія запатентувала новий тип кріплення, який фактично унеможливлює будь-який ремонт без спеціального інструменту, доступ до якого, у разі реального впровадження, матимуть передусім авторизовані дилери бренду.
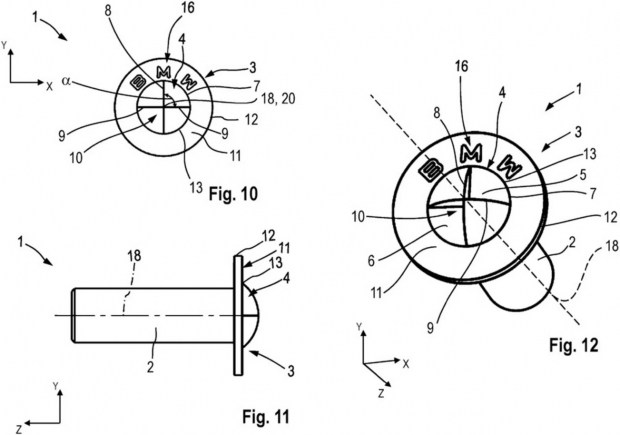
Йдеться про патент на гвинт із унікальною формою головки, виконаною у стилі фірмового логотипа BMW. Замість звичних рішень на кшталт хрестоподібного шліца, внутрішнього шестигранника чи Torx, головка цього гвинта має форму круглого «ронделя» BMW, поділеного на чотири сегменти. Частина цих сегментів є заглибленими, частина - виступає або залишається пласкою, що робить неможливим використання стандартних викруток чи біт. Для додаткового впізнаваного ефекту по краю головки гвинта витиснений логотип BMW.

Подібні нестандартні кріплення в автомобільній індустрії не є чимось принципово новим - виробники й раніше застосовували унікальні болти й гвинти для окремих вузлів. Проте в цьому випадку BMW йде значно далі. У тексті патенту прямо зазначено, що така форма заглиблень призначена для того, аби запобігти ослабленню або затягуванню гвинта за допомогою звичайних інструментів сторонніми особами. Фактично мова йде про навмисне ускладнення доступу до ремонту для власників автомобілів і незалежних майстерень.
Ідея полягає в тому, щоб використовувати ці гвинти в місцях, де кріплення залишаються видимими або мають критичне значення для конструкції. У патенті прямо згадуються кріплення сидінь, а також з'єднання елементів салону з несучою структурою кузова. Тобто це не декоративні дрібниці, а вузли, до яких у процесі експлуатації чи ремонту може виникнути потреба доступу.

Не дивно, що новина викликала хвилю критики та іронії в інтернет-спільноті. Багато ентузіастів побачили в цьому чергову спробу обмежити право власників на самостійний ремонт. Дехто зауважив, що поява таких гвинтів створить проблеми не лише для власників, а й для звичайних сервісів, які не працюють із BMW на офіційному рівні. Інші, більш скептично налаштовані користувачі, жартують, що альтернативні біти під таку форму з'являться на азійських маркетплейсах швидше, ніж самі гвинти потраплять у серійні автомобілі.
Водночас варто наголосити, що патент ще не означає неминуче серійне застосування. Автовиробники регулярно реєструють десятки технічних рішень, які так і залишаються на папері. Ці конкретні патентні матеріали були подані BMW у червні 2024 року та оприлюднені наприкінці 2025-го, але жодних підтверджень того, що такі гвинти з'являться у серійних моделях, наразі немає.
