Компанія Toyota готує принципово нову платформу для електромобілів, дебют якої заплановано на 2028 рік. У США було оприлюднено патентну заявку, що може розкривати одну з ключових технічних особливостей цієї архітектури. Йдеться не про революцію в батарейних технологіях, а про зміну компонування електронних модулів задля вирішення однієї з головних проблем сучасних електрокарів - внутрішнього простору.
Після запуску Toyota bZ4X виробник досить швидко визнав, що перша генерація нових електромобілів поступається конкурентам, насамперед Tesla, за низкою параметрів. Водночас Toyota не відмовилася від амбіцій у сегменті EV, а пообіцяла представити до 2028 року нову універсальну платформу, здатну забезпечити кращу ефективність, гнучкість і комфорт.

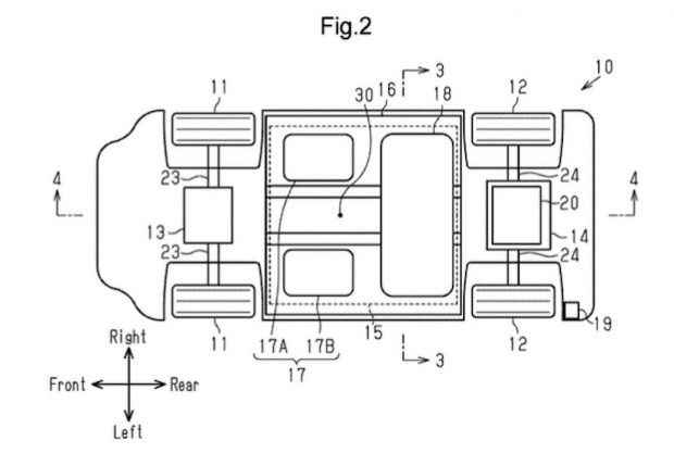
Згідно з витоком патенту, батарейний блок і надалі розміщуватиметься під підлогою кузова, що вже стало стандартом для сучасних електромобілів. Однак частину електронних компонентів пропонується перенести до зони між передніми сидіннями. Важливо, що це не передбачає створення традиційного трансмісійного тунелю, як у автомобілях із двигуном внутрішнього згоряння. Така схема дозволяє зберегти рівну підлогу, водночас раціональніше розподіливши вузли під днищем.
Інженери розраховують, що подібне компонування дасть одразу кілька переваг. По-перше, скорочується довжина силових кабелів, а отже зменшується маса та потенційні втрати енергії. По-друге, чутливі електронні блоки отримують кращий захист. По-третє, з'являється можливість встановити сидіння нижче, що позитивно впливає на центр ваги та керованість. Одночасно вивільняється більше простору для пасажирів другого ряду - як для ніг, так і для голови.

Проблема простору особливо актуальна для моделей із невеликою колісною базою або спортивним силуетом. У кросоверах із великим кузовом це менш критично, однак у компактних або спортивних електромобілях великі батареї часто змушують піднімати підлогу або задні сидіння, що негативно позначається на ергономіці. Саме це, за даними патенту, Toyota прагне вирішити новим підходом.
Очікується, що майбутня архітектура стане універсальною базою для різних типів кузова - від SUV і седанів до компактних моделей та спорткарів. Подібні ідеї раніше патентувала й Nissan, зокрема щодо альтернативного розміщення елементів батарейного блоку, однак у випадку Toyota акцент зроблено саме на перерозподілі електроніки.

Поки що йдеться лише про патентну документацію, а отже гарантій серійного впровадження немає. Водночас сам факт розробки свідчить, що Toyota шукає інженерні рішення, які дозволять поєднати велику ємність батареї з комфортним салоном без компромісів у пропорціях кузова.